爱上海北京验证论坛,成都品茶外卖推荐,海角.comhj3dc论坛的特色

11系列无齿式回转支承

  • 产品名称: 11系列无齿式回转支承
  • 产品分类: 单排交叉滚柱式回转支承(11系列)
  • 公司名称: 招远市金兴机械制造有限公司
  • 联系方式: 0535-8126299
  • 添加时间: 17/05/10
  • 二 维 码:

    手机购

    更方便

产品详情

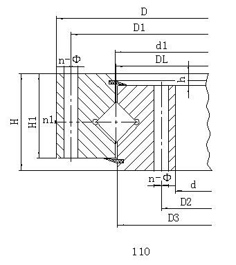
11系列无齿式回转支承
结构特点、性能、适用范围 
       单排交叉滚柱式回转支承,由两个座圈组成,结构紧凑、重量轻、制造精度高,装配间隙小,对安装精度要求高,滚柱为1:1交叉排列,能同时承受轴向力,倾翻力矩和较大的径向力,被广泛地用于起重运输、工程机械和军工产品上。
       回转支承的滚道都是经过表面感应淬火处理的,并且淬火硬度确保在HRC55~62,能达到足够的淬硬层深度。



点击次数:   更新时间:17/05/10 10:22:05   【打印此页】   【关闭

联系我们

  • 地址:山东省烟台市招远市横掌路
  • 电话:0535-8126299
  • 传真:0535-8120396
  • 手机:张经理 18954556021
  • E-mail:jinxing8126299@126.com

扫一扫查看更多信息

招远市金兴机械制造有限公司?2019 Microsoft Corporation. All rights reserved. 鲁ICP备2023015502号-1

城市分站:主站   山东   浙江   湖南   安徽   河南   江苏   上海   湖北   四川   河北   天津   辽宁   广州   

网站地图 |  免责声明

主站蜘蛛池模板: 南岸区| 夏河县| 襄垣县| 武清区| 贞丰县| 兴仁县| 石林| 徐州市| 揭西县| 金平| 朔州市| 社旗县| 苍山县| 南城县| 东方市| 剑阁县| 洛阳市| 红安县| 博罗县| 建德市| 葫芦岛市| 瓦房店市| 桐梓县| 西乌珠穆沁旗| 洞口县| 怀集县| 四子王旗| 谷城县| 自治县| 雷州市| 新巴尔虎左旗| 巴楚县| 沂源县| 齐河县| 安吉县| 石景山区| 清镇市| 尖扎县| 新竹县| 板桥市| 泰兴市|